Российские инженеры придумали дрон-истребитель с двойным огневым ударом
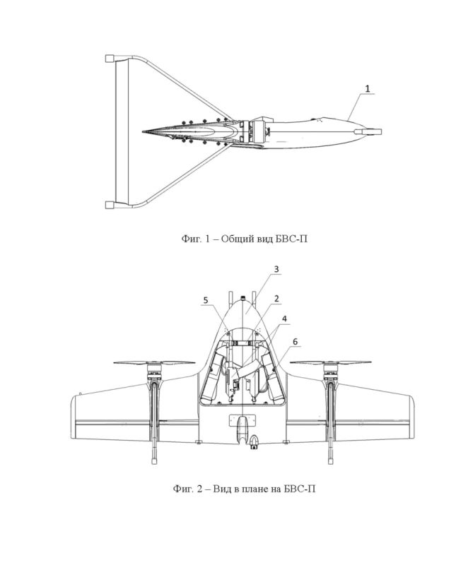
Концерн ПВО «Алмаз-Антей» запатентовал новый беспилотник-перехватчик, который бьёт сразу из двух стволов. Аппарат сделан по схеме «летающее крыло» и оснащён сдвоенным стрелковым комплексом — это расширяет зону поражения и гасит колебания при стрельбе. Встроенный вычислитель корректирует траекторию, позволяя точно бить даже на высокой скорости. Задача у дрона простая, но важная — сбивать вражеские БПЛА, особенно те, что залетают в запретные зоны или используются для диверсий.
Разработчики подчеркивают: такая система особенно актуальна сейчас, когда высока активность дронов-камикадзе и разведчиков. Новый перехватчик должен повысить шансы в борьбе с ними — два ствола, умная электроника и стабильность в полёте делают его опасным охотником за любыми незаконными беспилотниками, утверждают в концерне.
















































